金奢易网2月9日讯,随着欧洲政治不稳定性持续发酵,加上市场对特朗普的政策仍存担忧,黄金市场避险情绪高涨,周三(2月8日)升至三个月高位,其中现货黄金一举站上1240美元关口,刷新去年11月11日以来的高位,国内市场方面,黄金TD价格最高上探至276.99元/克,同时美元指数运行于100.59附近,日内上浮0.20%。值得注意的是,目前有分析师指出,一大迹象显示黄金即将上演“传奇回归”,在接下来的几周金价恐将暴涨20%。
行情回顾现货黄金国际现货黄金周三(2月8日)亚市早盘开于1233.20美元/盎司后短暂下挫,录得日内低点1230.08美元/盎司后震荡上行。欧市金价跌宕起伏,多空交织,多头略占上风。美市多头奋力上攻,录得日内高点1244.67美元/盎司后,金价再度震荡,转跌后再转涨,终收于1241.97美元/盎司。

现货黄金小时图
黄金TD昨日上海黄金在亚欧盘维持在275.00元/克附近波动,并一度创下日内低点274.39,美市盘中黄金开始上攻,一根大阳线拔地而起,录得日内高点276.99元/克后金价维持在该位置震荡,最终收于276.25元/克。
避险福利来袭 黄金携手日元上涨今年以来有关特朗普对美元和全球贸易所持立场的担忧,美元下跌逾2%,美债收益率随之下降。昨日欧市开盘后美元指数开始加速下滑,日内最低触及100.10。鉴于此,黄金携手日元迎来上涨契机。具体表现如下:
欧洲政治担忧,特朗普政府疑虑,提振避险需求,美元/日元温和下挫,日内最低触及111.61,跌幅约达0.65%。除此之外,黄金市场表现也毫不孙色。现货黄金上破1240美元,最高触及1244.62美元,刷新去年11月11日以来高位,现货白银最高触及17.80美元,为三个月以来的高位。

美元/日元小时图
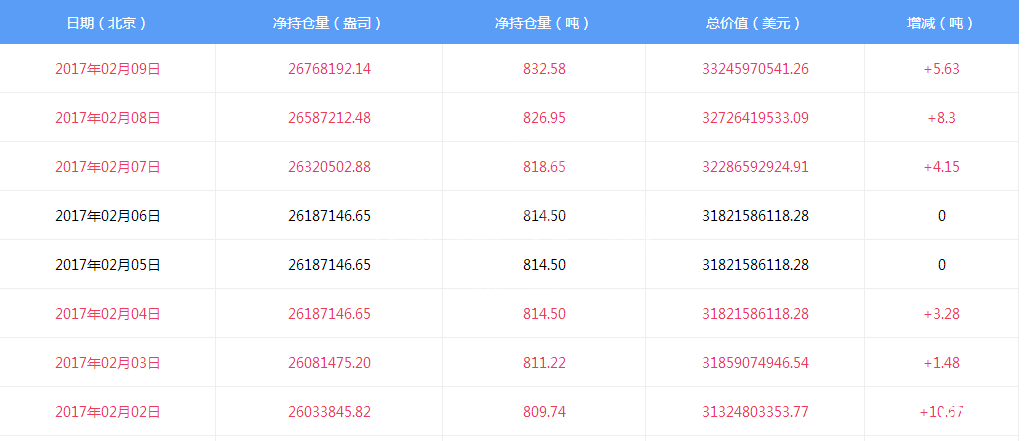
当然,我们除了要看到避险情绪给黄金市场带来的“福利”之外,黄金ETF的持有量保持近日来的上涨趋势,并出现了较大幅度的增加,The SPDR (Gold Trust)是全球最大的黄金ETF,在昨天再次流入了8.3吨黄金,今日(2月9日)黄金ETF再度增持5.63吨,这已经是第六天净流入了。

黄金ETF持仓量
技术面上看,目前黄金仍处在上升趋势之中这点是毋庸置疑,我们仍需要看到昨天黄金在1244美元遇到强阻力,这个阻力来源于2016年10月中旬在1242美元附近形成盘整,所以短期就算是黄金继续上涨,那么力度也会不断的弱,日线昨天在1241美元以阳线报收,形态上没有形成明显的做空信号,那么多空之间将会继续一场激烈的争夺,在这种情况下,操作思路建议是高空低多的思路,日内上方关注1250-1255区间的阻力,下方关注1230-1227一带的支撑。
一迹象显示黄金即将暴涨20%!Market Watch指出,有迹象显示另一类大宗商品恐将迎来大爆发。Daily Reckoning博客的Greg Guenthner认为,接下来的几周金价可能会跳涨20%。
Guenthner表示,黄金在2017年前六周中的涨势“完美反射出”2016年同一时期的走势。周四,金价势将录得连续第五日上涨,因欧洲不稳定迹象与美国总统政治议程不确定性提振避险买盘。
“黄金已经连续第二年在2月首周前录得6%的涨幅。在这两种情况下,黄金均自12月晚些时候触及的底部反弹。在这两种情形下,黄金在1月下旬的涨势都有所减弱——而这只是为二月初飞涨至新高做好准备,”Guenthner说道。
Guenthner表示,如这一走势持续下去,正如下图所显示,金价可能准备重复去年的“史诗般的回归”。

金价走势
三方助力齐到位 黄金价格上涨成定局!-链接









