金奢易网2月10日讯,我们都知道,近期黄金市场一直受到特朗普和欧洲大选的影响,此前因欧洲大选带来的政治风险、以及对美国总统特朗普政策的担忧,推高了对黄金的避险需求,现货黄金创下三个月新高至1240美元,黄金TD也上破276关口。所谓“成也特朗普,败也特朗普”,黄金市场再次经历暴涨暴跌的行情,周四(2月9日)特朗普又来捣乱多头计划,称将在2至3周后公布一些税收政策,并表示石油公司将会进行大规模投资,重申打算放松监管。受此影响,黄金从13周高位附近回落。具体市场表现如下:
特朗普&经济数据捣乱 黄金已暴跌近20美元一是、美国白宫周四稍晚表示,总统特朗普即将公布一份全面的税改计划,旨在激励企业将工作岗位留在美国国内,并扶助促进美国经济成长。此次税收计划将是自1986年以来的首次综合税制改革。
受此消息影响,美指短线急剧拉升逾30点,刷新日高至100.60,非美货币短线下挫,美元兑日元短线上扬近100点,刷新日高至113.19,而美股刷新纪录新高;金银由涨转跌,短线急挫。

美元指数一小时走势图
二是、除了特朗普的“搅局”之外,昨晚美国公布的数据靓丽,这令黄金雪上加霜,美元强势反弹,对黄金形成打压。美国上周初请人数意外下滑至近43年低点,显示劳动市场进一步收紧,这可能最终刺激薪资加速增长。
另外,周四(2月9日)发布消费者信心已经攀升至2015年4月份以来最高水平的47.2,而经济状况调查结果更是打破了新一轮周期高位至42.8,为2007年以来最高。美国12月批发库存月率连续第二个月上涨,批发销售月率涨幅创2011年以来最大,展现出企业对经济前景更具信心。

现货黄金小时图
三是、另一影响金价预期的是近期美联储官员的讲话。周四圣路易斯联储主席布拉德再次发表鸽派言论认为美联储应保持低利率,而2017年票委哈克和埃文斯陆续发言维持2017年美联储加息三次的预期,尽管埃文斯的言论相对谨慎。
综上来看,隔夜现货黄金自1244美元高点下挫至1230美元附近,下跌超过10美元。周五(2月10日)亚市开盘后,现货黄金延续隔夜晚间跌势,再度刷新此前低点,最低下探至1224美元附近,目前来看黄金价格已经暴跌近20美元,黄金TD下挫至274附近,结合目前现货黄金的走势,所以在今日(2月10日)亚市开盘后,黄金TD或迎来一次下挫行情。
技术面上来看,昨天黄金盘中从1244美元直线下跌,下跌力度之大,速度之快为2017年以来最大的一次,从目前的走势来看,市场存在惯性,下方还是存在下跌空间,日线昨天以在1228美元以大阴线报收,日内重点关注下方50日均线附近的支撑,上方关注1235美元附近的阻力。
暴跌后黄金还有转机?不过,尽管特朗普昨日爆发的消息令金价短暂下挫,但黄金牛市局面总体未变。黄金需求和投资方面周四传来两个好消息。

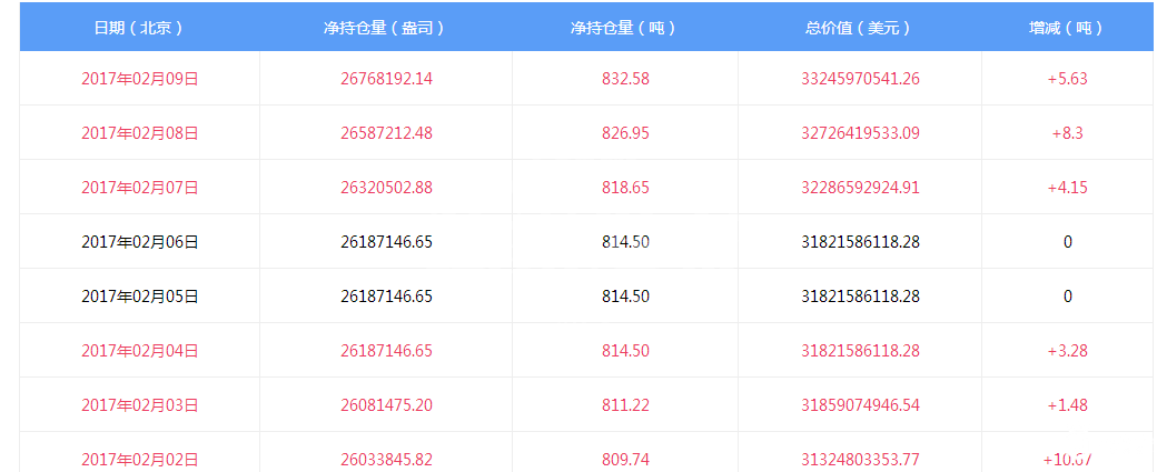
黄金ETF持仓量
一是、全球最大黄金ETF——SPDR GOLD TRUST今日终于获得伊斯兰金融业务交易资格。去年11月“沙里亚黄金标准及其交易规范”正式推出,为伊斯兰投资者参与到黄金市场扫清了障碍。
二是、世界黄金协会预计该标准的推出将增加数百吨的黄金需求。另一个则是SPDR GOLD Trust持仓周四增加5.63吨,为连续第六日增仓,持仓量也创12月20日以来最高位。
金奢易网分析师认为,市场可能面临2016年年底以来的强劲反弹之后的获利回吐。但是因美国和欧洲的不确定性,对于避险资产仍有明显的潜在支撑,黄金还将进一步上涨。
三大理由力顶金牛 黄金价格下一轮暴涨箭在弦上-链接









