金奢易网3月3日讯,周四(3月2日)黄金市场可以说是经历“不眠之夜”,在美联储3月加息和初请等一系列经济数据的双重“围剿”之下,金价创下12月来最大单日跌幅。美市盘中,现货黄金一路下行,最低触及至1230.78美元,多头溃不成军,同样黄金TD也难逃下跌厄运,下探至276关口附近,直至在收盘时跌势有所放缓。但是本周的好戏并未结束,美联储主席耶伦和副主席费希尔都将在北京时间本周六发表讲话,在3月加息预期如此高涨的背景之下,金融市场可能在本周最后一个交易日再度变得“疯狂”。
美元、黄金冰火两重天昨日金融市场可谓是“几家欢乐几家愁”,美元指数受到加息和数据的“庇佑”之下,一举创下七周高位至102附近,毫无疑问,在此背景之下黄金白银遭遇“疯狂碾压”,抹去此前大部分涨幅。具体市场表现如下:
外汇:受到美联储加息和经济数据的提振,美元指数日线上已是五连涨,对一篮子货币美元指数突破102.30关口。昨日晚间更是刷新日内高点至102.26,目前仍旧维持在该位置附近运行。

美元指数日线图
现货黄金:美联储3月加息预期飙升,令黄金从周一高点1263美元下滑了30美元。美市盘中,多空激战加剧,盘中出现直线下挫,录得日内低点1230.78美元后有所反弹,金价终收于1233.98美元,下跌1.45%。
黄金TD:回顾昨日走势,周四亚欧市盘中,金价整体波动较小,维持在278元/克附近运行,美盘时段,金价开盘后直接跳空低开,呈现下滑走势,自278.50高点直接下挫至276附近,最低触及至276.01,最终收于276.21元/克。

现货黄金小时图
其他贵金属方面,现货白银遭巨大抛压卖盘打击,急跌3.8%,报17.71美元。现货铂金回落3.2%,报982.50美元,盘中跌穿200日移动均线。现货钯金下跌1.2%,报765.65美元。
耶伦、费希尔轮番上阵市场对联储三月加息预期逼近90%,美元“五连涨”打压之下,投资者密切关注美联储主席耶伦是否为3月加息“板上钉钉”。北京时间周六(3月4日)01:00,美联储副主席费希尔(Stanley Fischer)将发表讲话,北京时间周六02:00,美联储主席耶伦将在芝加哥高管俱乐部就经济前景发表讲话。他们的言论可能为联储的政策路径提供进一步线索。

现货白银小时图
如果她对3月加息持保留态度的话,对黄金是利好。假如耶伦在美联储决议前的最后一次讲话中措辞鹰派,加大3月加息可能性,可能会给美元多头提供更多“弹药”,从而令金价进一步承压。
然而鉴于美联储官员近期鹰派的讲话,市场仍需警惕加息预期上升给黄金带来的压力。因为按照如今的经济状况,给出一个加息的理由并不难,这样做的话,耶伦将会与她的许多同事站在同一阵线上。但是耶伦的风格一般是对整体经济指标提出警告,因此,耶伦可以让市场为3月加息做好准备,也可以打压市场的预期,取决于她如何平衡措辞。
昨日,主流财经媒体的全球利率概率(WIRP)显示,市场预期美联储3月加息概率已达到90%,一周以前大概只有20%,相当于加息概率在一周内翻了三倍多。因此,倘若耶伦此次果真一改常态,与其他美联储官员统一论调,黄金恐面临下行危机。
金市还有两根救命“稻草”虽然目前市场对美联储将在3月份加息达成了普遍共识,但是黄金市场仍存两个支撑因素。一是隔夜美国股市在高位回落,进一步回调的风险依然存在,二是除了法国外,荷兰将在两周后进行大选,号称脱欧的候选人亦可能会提升黄金的避险需求。
隔夜美国三大股市均从历史高位回落,道琼斯工业指数收跌逾21000点下方;由于美国股市自特朗普胜选以来一直持续上涨,技术面出现了多次顶背离,进一步调整的风险显著增加,这可能会给金价提供一些避险买需。
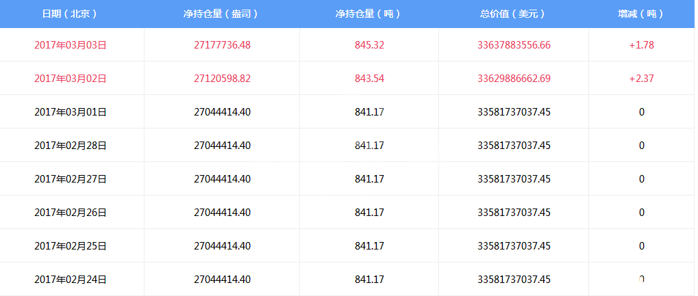
最新数据显示,3月2日,全球最大的黄金ETF——SPDR持仓增加了1.78吨,至845.32吨,为连续两个交易日增加,暗示在金价走弱之际,出现了一些逢低买盘。分析师称,金价下修的幅度可能有限,因仍有投资者青睐黄金,将其作为对冲全球不确定性和通胀上升的工具。

黄金ETF持仓量
丹麦盛宝银行(Saxo Bank)的商品策略部主管Ole Hansen表示,短期风险可能偏下行。美联储过去两次加息前,金价均下跌,但之后金价随即反弹。这样的情景可能重现。
金奢易网分析师认为,近期来看,预计金价将受到美联储加息的打压,但是下跌空间有限,金价回调会吸引黄金买盘出现。不过,需要指出的是,现在距离美联储会议还有将近半个月的时间,这期间也许会有其他因素影响市场预期,比如特朗普政策和非农就业报告等。因此在美联储3月是否真的加息的问题上,变数依然存在。(金奢易网原创)
此文出自于金奢易网,如需转载,请注明原文出处。若未注明原文来源随意摘编、转载等,金奢易网将保留追究权利。
初请数据助力美联储加息概率飙涨 黄金价格暴跌近20美元-链接









